
ГУ-35Б-1
08.12.2015
ГУ-36Б-1
08.12.2015ГУ-36Б
28,000.00₽
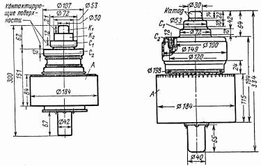
Генераторный тетрод для широкополосного усиления высокочастотных колебаний на частотах до 250 МГц в схемах с общей сеткой или общим катодом.
Оформление — металлокерамическое, с кольцевыми выводами электродов.
Охлаждение — воздушное принудительное: анода — не менее 1200 м3/ч (1400), ножки не менее 200 м3/ч.
Масса ГУ-36Б-1 11 кг, ГУ-36Б 10 кг.
ГУ-36Б-1, ГУ-36Б
![]() |
Генераторный тетрод для широкополосного усиления высокочастотных колебаний на частотах до 250 МГц в схемах с общей сеткой или общим катодом. Оформление — металлокерамическое, с кольцевыми выводами электродов. Охлаждение — воздушное принудительное: анода — не менее 1200 м3/ч (1400), ножки не менее 200 м3/ч. Масса ГУ-36Б-1 11 кг, ГУ-36Б 10 кг. |
|
|
|
Основные параметры |
|
| Ток накала | 120 ± 5 А |
| Напряжение 1-й сетки отрицательное (при Uа=7 кВ, Uс2=1,2 кВ, Iа=0,3 А) |
£ 220 В |
| Ток эмиссии катода (при Uа=400 В) | ³30 А |
| Ток анода (при Uc1=0) | ³ 4 А |
| Крутизна характеристики | 83 ± 13 мА/В (85 ± 10 для ГУ-36Б) |
| Коэффициент усиления 1-й сетки относительно 2-й сетки (при Uс2=500 и 750 В) | 10 ± 3 |
| Колебательная мощность (на частоте 250 МГц и полосе 8 МГц) | ³ 10 кВт |
| Междуэлектродные емкости, пФ: | |
| входная | 150 |
| выходная | £24 (23 для ГУ-36Б) |
| проходная | 0,6 |
| Долговечность | ³ 2000 (1000 для ГУ36Б) ч |
|
Предельные эксплуатационные данные |
|
| Напряжение накала на частотах до 50 МГц | 8,3 В |
| Напряжение накала на частотах свыше 50 МГц | 8 В |
| Ток накала пусковой | 210 А |
| Напряжение анода на частотах 100 — 250 МГц | 7 кВ |
| Напряжение анода на частотах до 100 МГц | 8 кВ |
| Напряжение 2-й сетки | 1,1 к В (1,25 для ГУ-36Б) |
| Напряжение 1-й сетки отрицательное | 400 В |
| Мощность, рассеиваемая анодом | 15 кВт (14 для ГУ-36Б) |
| Мощность, рассеиваемая 2-й сеткой | 300 Вт |
| Мощность, рассеиваемая 1-й сеткой | 150 Вт |
| Рабочая частота | 250 МГц |
| Температура анода | 250 С |
| Температура ножки и спаев керамики с металлом | 175 С |
| Рабочая температура окружающей среды | до 60 С |
| Производитель |
|---|









