
СГ-4С
20.02.2016
СГ-13П
20.02.2016СГ-5Б-В
140.00₽
Стабилитрон СГ-5Б-В Предназначен для стабилизации постоянного напряжения. Применяется в малогабаритной аппаратуре различного назначения.
СГ-5Б-В
Стабилизатор напряжения

(газоразрядный стабилизатор напряжения)

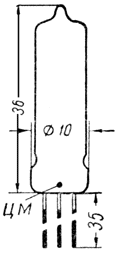
Основные размеры стабилитрона СГ-5Б.
Общие данные
Стабилитрон СГ-5Б предназначен для стабилизации постоянного напряжения.
Применяется в малогабаритной аппаратуре различного назначения.
Катод холодный. Баллон наполнен аргоногелиевой смесью.
Работает в любом положении.
Выпускается в стеклянном миниатюрном оформлении.
Срок службы не менее 500 час.
Лампа впаивается в схему. Цоколь выводной проволочный. Длина выводов не менее 35 мм при толщине 0.4 мм. Длина неуложенной части вывода от стекла не более 5 мм.
Номинальные электрические данные
| Напряжение стабилизации, В | от 142 до 157 |
| Напряжение зажигания, В | не более 180 |
| Ток, проходящий через стабилитрон, мА | от 5 до 10 |
| Балластное сопротивление в цепи стабилитрона, Ом | 3000 |
| Эффективное напряжение виброшумов, мВ | не более 5 |
Предельно допустимые электрические величины
| Наибольшее изменение напряжения стабилизации при изменении тока, от 5 до 10 мА, В | 4 |
| Наибольший ток, проходящий через стабилитрон, мА | 10 |
| Наименьший ток, проходящий через стабилитрон, мА | 5 |
| Наибольший ток утечки между анодом и катодом, мкА | 10 |
Схема включения газового стабилизатора напряжения

Расчетные соотношения
Для СГ-2С:
Пример расчета
Дано: U = 200 В; Iн = 10 мА.
Выбираем лампу типа СГ-4С.
По рекомендуемым пределам тока через лампу (см. технические данные лампы) принимаем его равным 15 мА. Чем больше колебание напряжения, тем большим (в указанных пределах) берется этот ток. Сопротивление
Электронные стабилизаторы напряжения
Эти устройства используются также для стабилизации выпрямленного напряжения, причем коэффициент стабилизации у них выше (несколько десятков), чем у газовых стабилизаторов, а величина тока нагрузки принципиально не ограничена и зависит от примененной регулирующей лампы. Кроме того, схема электронного стабилизатора позволяет по желанию изменять в достаточно широких пределах величину выходного напряжения.
Ниже приведена одна из практических схем электронного стабилизатора напряжения.

| Производитель |
|---|



