
6П3С
20.02.2016
6П6С
20.02.20166П3С-Е
Выходной лучевой тетрод

Обозначения:
а — анод, с1 — сетка первая, с2 — сетка вторая, лп — лучеобразующие пластины, к — катод, п — подогреватель катода.
| S | Ri | Rа | Pа | Pвых |
| 6 | 30 | 2.5 | 21 | 5.4 |

Основные размеры лампы 6П3С.
Общие данные
Лучевой тетрод 6ПЗС предназначен для усиления мощности низкой частоты.
Применяется в выходных однотактных и двухтактных каскадах приемников и усилителей низкой частоты, а также как высокочастотный генератор в магнитофонах, передающих устройствах и другой аппаратуре.
Катод оксидный косвенного накала.
Работает в любом положении. Выпускается в стеклянном оформлении цилиндрической и фигурной формы. Срок службы не менее 500 час.
Цоколь октальный с ключом. Штырьков 6.
Вес 60 гр.
Междуэлектродные емкости, пФ
Входная 11 +- 2. Выходная 8.2 + 1.5 — 1.4. Проходная не более 1.
Номинальные электрические данные
| Напряжение накала, В | 6.3 |
| Напряжение на аноде, В | 250 |
| Напряжение на второй сетке, В | 250 |
| Напряжение смещения на первой сетке, В | -14 |
| Ток накала, мА | 900 +- 60 |
| Ток в цепи анода, мА | 72 +- 14 |
| Ток в цепи второй сетки, мА | не более 8 |
| Крутизна характеристики, мА/В | 6 +- 0.8 |
| Выходная мощность, отдаваемая при переменном напряжении на первой сетке 9.8 В и сопротивлении нагрузки в цепи анода 2500 Ом, Вт | 5.4 |
| Выходная мощность при напряжении накала 5.7 В, Вт | не менее 4 |
| Внутреннее сопротивление, кОм | 22.5 |
| Коэффициент усиления | 13.5 |
Предельно допустимые электрические величины
| Наибольшее напряжение накала, В | 7 |
| Наименьшее напряжение накала, В | 5.7 |
| Наибольшее напряжение на аноде, В | 400 |
| Наибольшее напряжение на второй сетке, В | 300 |
| Наибольшая мощность, рассеиваемая на аноде, Вт | 20.5 |
| Наибольшая мощность, рассеиваемая на второй сетке, Вт | 2.75 |
| Наибольшее постоянное напряжение между катодом и подогревателем, В | 200 |
| Наибольший ток утечки между катодом и подогревателем, мкА | 100 |
| Наибольшее сопротивление в цепи первой сетки, МОм | 0.5 |
Ориентировочный режим эксплуатации лампы 6ПЗС в режиме усилителя мощности для генератора с посторонним возбуждением в классе С
| Напряжение источника анодного питания, В | 450 |
| Напряжение смещения на первой сетке при сопротивлении в цепи катода 500 Ом, В | -50 |
| Напряжение на второй сетке при сопротивлении в цепи второй сетки 17 кОм, В | 250 |
| Анодный ток при наличии возбуждения, мА | 95 |
| Ток в цепи второй сетки, мА | 9 |
| Мощность возбуждения, Вт | 0.25 +- 0.5 |
| Амплитуда напряжения возбуждения, В | 80 |
| Полезная выходная мощность, Вт | 20 — 25 |
В форсированном режиме, повышая напряжение на аноде до 500 — 600 В, при напряжении на второй сетке 250 В, за счет снижения срока службы лампы можно снять мощность до 30 — 35 Вт. В удвоителе частоты, повышая напряжение смещения на первой сетке до 80 В и увеличивая амплитуду напряжения возбуждения до 110 В, можно снять с лампы мощность на второй гармонике до 12 Вт.

Характеристики зависимости токов анода и второй сетки от напряжения на аноде при напряжении на второй сетке 250 В

Характеристики зависимости тока анода от напряжения на аноде при разных напряжениях на второй сетке и напряжении на первой сетке 0 В

Характеристики зависимости выходной мощности и коэффициента нелинейных искажений от сопротивления нагрузки при напряжении на аноде 250 В, на второй сетке 250 В, напряжении смещения на первой сетке -14 В и напряжении сигнала 9.8 В
Схема применения лампы 6ПЗС в качестве однотактного усилителя мощности низкой частоты в классе А.
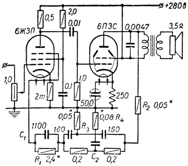
Хорошие результаты дает схема применения лампы 6ПЗС в сочетании с пентодом 6ЖЗП (см. рисунок). Ее можно применить и для выходного каскада вещательного приемника. Выходная мощность каскада до 4.5 Вт при частотной характеристике от 60 до 8000 Гц. На частоте 60 Гц частотная характеристика имеет подъем 6 дБ, а на частоте 8000 Гц — до 12 дБ.
Сопротивление R1 регулирует подъем частотной характеристики в области низких частот. Конденсатор C1сдвигает низкочастотный пик характеристики в сторону большей или меньшей величины. Высокочастотный пик в области 8000 Гц регулируется сопротивлением R3 и конденсатором C2. Сопротивлением R3 регулируется подъем характеристики в области 8000 Гц.
При необходимости, вместо сопротивлений R1 и R3 можно установить переменные сопротивления и регулировать подъем частотной характеристики в области низких и высоких частот.
Сопротивлением R2 изменяют величину отрицательной обратной связи. Если нужно получить прямолинейную частотную характеристику, то из схемы исключают все элементы двойного Т-образного моста и вместо них между анодом лампы 6ПЗС и катодом 6ЖЗП включают сопротивление порядка 0.1 МОм. В этом случае, применяя качественный выходной трансформатор, можно получить частотную характеристику от 40 — 60 Гц до 8 — 10 кГц.
В схеме, изображенной на рисунке, выходной трансформатор имеет следующие данные: первичная обмотка 2500 витков намотана проводом ПЭЛ 0.2 мм; вторичная имеет 75 витков провода ПЭЛ 1.0 мм (для звуковой катушки динамика сопротивлением 3.5 ом); сечение сердечника 5 — 7 см2. Коэффициент нелинейных искажений в большой степени зависит от качества выходного трансформатора. При трансформаторе среднего качества коэффициент нелинейных искажений не превышает 4%.
Рекомендуемые режимы эксплуатации лампы 6ПЗС, применяемой в качестве однолампового усилителя класса А при катодном смещении
| Напряжение на аноде, В | 250 | 350 |
| Напряжение на второй сетке, В | 250 | 200 |
| Сопротивление в цепи первой сетки, МОм | не более 0.15 | не более 0.15 |
| Сопротивление в цепи катода, Ом | 170 | 220 |
| Амплитуда возбуждения на первой сетке, В | 14 | 12.5 |
| Ток в цепи анода, мА | 75 | 51 |
| Ток в цепи анода наибольший, мА | 78 | 54.5 |
| Ток в цепи второй сетки, мА | 5.4 | 3 |
| Ток в цепи второй сетки наибольший, мА | 7.2 | 4.6 |
| Сопротивление нагрузки в цепи анода, Ом | 2500 | 4500 |
| Выходная наибольшая мощность, Вт | 6.5 | 6.5 |
| Коэффициент нелинейных искажений, % | 10 | 11 |
Рекомендуемые режимы эксплуатации лампы 6ПЗС, применяемой в качестве усилителя класса А в триодном включении
| Напряжение на аноде, В | 250 | 250 |
| Напряжение смещения на первой сетке, В | -20.0 | — |
| Сопротивление в цепи катода, Ом | — | 490 |
| Амплитуда возбуждения на первой сетке, В | 20.0 | 20.0 |
| Ток в цепи анода, мА | 40.0 | 40.0 |
| Ток в цепи анода наибольший, мА | 44.0 | 42.0 |
| Внутреннее сопротивление, Ом | 1700 | — |
| Крутизна характеристики, мА/В | 4.7 | — |
| Сопротивление нагрузки в цепи анода, Ом | 5000 | 6000 |
| Наибольшая выходная мощность, Вт | 1.4 | 1.3 |
| Коэффициент нелинейных искажений, % | 5.0 | 6.0 |
| Коэффициент усиления | 8 | 8 |
Примечание. Сопротивление в цепи сетки не должно превышать при фиксированном смещении 100 кОм, при автоматическом — 150 кОм.
Рекомендуемые режимы эксплуатации лампы 6ПЗС, применяемой в качестве усилителя мощности по двухтактной схеме класса А
| Напряжение на аноде, В | 250 | 270 | 270 |
| Напряжение на второй сетке, В | 250 | 270 | 270 |
| Напряжение смещения на первой сетке, В | -16 | -17.5 | — |
| Сопротивление в цепи катода, Ом | — | — | 125 |
| Напряжение возбуждения на первой сетке, В | 32 | 35 | 40 |
| Ток в цепи анода, мА | 120 | 134 | 134 |
| Ток в цепи анода наибольший, мА | 140 | 155 | 145 |
| Ток в цепи второй сетки, мА | 10.0 | 11.0 | 11.0 |
| Ток в цепи второй сетки наибольший, мА | 16 | 17 | 17 |
| Внутреннее сопротивление, кОм | 24.5 | 23.5 | — |
| Крутизна характеристики, мА/В | 5.5 | 5.7 | — |
| Сопротивление нагрузки между анодами, Ом | 5000 | 5000 | 5000 |
| Выходная наибольшая мощность, Вт | 14.5 | 17.5 | 18.5 |
| Коэффициент нелинейных искажений, % | 2 | 2 | 2 |
Примечание. Сопротивление в цепи первой сетки не должно превышать при фиксированном смещении 100 кОм, при автоматическом — 150 кОм.
Рекомендуемые режимы эксплуатации лампы 6ПЗС, применяемой в качестве усилителя мощности по двухтактной схеме в классе АВ1
| Напряжение на аноде, В | 360 | 360 |
| Напряжение на второй сетке, В | 270 | 270 |
| Напряжение смещения на первой сетке, В | -22.5 | — |
| Сопротивление в цепи катода, Ом | — | 250 |
| Амплитуда сигнала между двумя сетками, В | 45 | 57 |
| Ток в цепи анода, мА | 88 | 88 |
| Ток в цепи анода наибольший, мА | 132 — 140 | 100 |
| Ток в цепи вторых сеток, мА | 5.0 | 5.0 |
| Ток в цепи вторых сеток наибольший, мА | 5 — 11 | 17 |
| Сопротивление нагрузки между анодами, Ом | 6600 — 3800 | 9000 |
| Выходная наибольшая мощность, Вт | 26.5 — 18.0 | 24.5 |
| Коэффициент нелинейных искажений, % | 2 | 4 |
Примечание. Сопротивление в цепи первой сетки не должно превышать при фиксированном смещении 100 кОм, при автоматическом — 150 кОм.
Рекомендуемые режимы эксплуатации лампы 6ПЗС, применяемой в качестве усилителя мощности в классе АВ2 по двухтактной схеме (смещение на первую сетку фиксированное)
| Напряжение на аноде, В | 360 | 360 |
| Напряжение на второй сетке, В | 225 | 270 |
| Напряжение смещения на первой сетке, В | -18 | -22.5 |
| Амплитуда возбуждения между сетками, В | 52 | 72 |
| Анодный ток при отсутствии сигнала, мА | 78 | 88 |
| Наибольший анодный ток, мА | 142 | 205 |
| Ток второй сетки при отсутствии сигнала, мА | 3.5 | 5 |
| Наибольший ток второй сетки, мА | 11 | 16 |
| Эффективное сопротивление нагрузки между анодами, Ом | 6000 | 3800 |
| Наибольшая выходная мощность, Вт | 31 | 47 |
| Коэффициент нелинейных искажений, % | 2 | 2 |
| Производитель |
|---|












