
6Р3С-1
12.02.2016
6И4П
12.02.20166И1П
80.00₽
Триод-гептод 6И1П предназначен для преобразования частоты с одновременным автоматическим регулированием усиления. Применяется в сетевых супергетеродинных приемниках.
6И1П
триод — гептод

Основные размеры лампы 6И1П.
Общие данные
Катод оксидный косвенного накала.
Работает в любом положении.
Выпускается в стеклянном пальчиковом оформлении.
Срок службы не менее 750 час.
Цоколь штырьковый с пуговичным дном. Штырьков 9.
Междуэлектродные емкости, пФ
| Входная емкость триода | 2.6 +- 0.6 |
| Выходная емкость триода | 2.3 +- 0.4 |
| Проходная емкость триода | 1.0 +- 0.2 |
| Входная емкость гептода по первой сетке | 5.1 +-1.0 |
| Входная емкость гептода по третьей сетке | 5.3 +- 1.3 |
| Выходная емкость гептода | 7.4 +-1.4 |
| Проходная емкость гептода по первой сетке | 0.006 |
| Емкость между сеткой триода и катодом | 0.02 |
| Емкость между сеткой гептода и катодом | 0.0017 |
| Емкость между третьей сеткой гептода и катодом | 0.06 |
Номинальные электрические данные
| Напряжение накала, В | 6.3 |
| Напряжение на аноде гептода, В | 250 |
| Напряжение на второй и четвертой сетках, В | 100 |
| Напряжение на третьей сетке гептода, В | — 9.4 |
| Напряжение смещения на первой сетке гептода, В | — 2 |
| Напряжение смещения на первой сетке триода, В | -9.4 |
| Напряжение на аноде триода, В | 100 |
| Ток накала, мА | 300 +- 25 |
| Ток в цепи анода триода, мА | 11 +- 4 |
| Ток в цепи анода гептода, мА | 3.3 +- 1.2 |
| Ток в цепи второй и четвертой сеток, мА | 6 +- 2 |
| Ток в цепи третьей сетки гептода, мкА | 200 |
| Ток в цепи первой сетки триода, мкА | 200 |
| Крутизна преобразования гептода, мА/В | 0.77 |
| Крутизна преобразования гептода при напряжении накала 5.7 В, мА/В | не менее 0.45 |
| Внутреннее сопротивление гептода, МОм | 1 |
| Крутизна характеристики триода, мА/В | 3.7 |
| Крутизна характеристики триода при напряжении накала 5.7 В, мА/В | не менее 2.5 |
| Коэффициент усиления триода | 25 |
Предельно допустимые электрические величины
| Наибольшее напряжение накала, В | 7 |
| Наименьшее напряжение накала, В | 5.7 |
| Наибольшее напряжение на аноде гептода, В | 300 |
| Наибольшее напряжение на второй и четвертой сетках, В | 300 |
| Наибольшее напряжение на аноде триода, В | 250 |
| Наибольшая мощность, рассеиваемая на аноде гептода, Вт | 1.7 |
| Наибольшая мощность, рассеиваемая на второй и четвертой сетках, Вт | 1 |
| Наибольшая мощность, рассеиваемая на аноде триода, Вт | 0.8 |
| Наибольший ток катода гептода, мА | 12.5 |
| Наибольший ток катода триода, мА | 6.5 |
| Наибольшее сопротивление в цепи первой сетки гептода, МОм | 2 |
| Наибольшее сопротивление в цепи третьей сетки гептода, МОм | 3 |
| Наибольшее сопротивление в цепи триода, кОм | 500 |
| Наибольшее постоянное напряжение между катодом и подогревателем, В | 100 |
Триод-гептод 6И1П можно применять в различных схемах. В УКВ приемниках триод лампы можно использовать как преобразователь частоты, имеющий низкий уровень шумов.
Триод можно также применять для усиления напряжения низкой частоты при коэффициенте
усиления каскада не более 10.
Гептодную часть лампы 6И1П можно применять для усиления высокой или промежуточной частоты.
При этом третью сетку гептода соединяют с катодом, и тогда гептодная часть лампы преобразуется в
высокочастотный пентод с удлиненной характеристикой.

Характеристики зависимости тока анода триода от напряжения на аноде триода

Характеристики зависимости крутизны преобразования от напряжения на первой сетке гептода при напряжении на аноде гептода 250 В, на аноде триода 100 В, на третьей сетке 0 В, эффективном напряжении на третьей сетке и сетке триода 8.5 в и сопротивлении в цепи сетки триода и третьей сетки 47 кОм

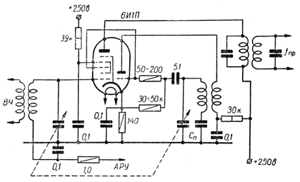
Схема преобразовательного каскада на лампе 6И1П
| Производитель |
|---|






