
ГС-43Б
01.11.2015
ГС-90Б
01.11.2015ГС-9Б
1,350.00₽
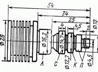
Генераторные триоды для генерирования высокочастотных колебаний дециметрового диапазона в непрерывном режиме работы в генераторах с внешней обратной связью.
Оформление — металлокерамическое, с цилиндрическими выводами катода, подогревателя и сетки.
Охлаждение — воздушное принудительное 18 м3/ч.
Масса ГС-9Б 330 г, ГС-90Б 170 г.
ГС-9Б, ГС-90Б
| Генераторные триоды для генерирования высокочастотных колебаний дециметрового диапазона в непрерывном режиме работы в генераторах с внешней обратной связью. Оформление — металлокерамическое, с цилиндрическими выводами катода, подогревателя и сетки. Охлаждение — воздушное принудительное 18 м3/ч.Масса ГС-9Б 330 г, ГС-90Б 170 г. |
|
Основные параметры |
|
| Ток накала | 1,1 ± 0,1 А |
| Ток анода в начале характеристики (при Uc= -40 В) | £ 2 мА |
| Ток сетки обратный | £ 30 мкА |
| Крутизна характеристики | 19,5 ± 4,5 мА/В |
| Проницаемость (при изменении Uа на 200 В) | 0,9 ± 0,3 % |
| Термоток сетки | £ 5 мА |
| Колебательная мощность (при Uа=1,5 кВ, Iа=175 мА): | |
| при Uн=12,6 В | ³ 40 Вт |
| при Uн=12,3 В | ³ 26 Вт |
| Междуэлектродные емкости, пФ: | |
| входная | 8,4 ± 1,2 |
| выходная | £ 0,04 |
| проходная | 3,15 ± 0,35 |
| Долговечность | ³ 200 ч |
| Критерий долговечности: колебательная мощность | ³ 32 Вт |
|
Предельные эксплуатационные данные |
|
| Напряжение накала | 11,7 — 13 В |
| Напряжение анода | 2,5 кВ |
| Напряжение анода при холодном катоде | 3 кВ |
| Напряжение анода (мгновенное значение) | 5 кВ |
| Напряжение сетки наибольшее (мгновенное значение) | -200 ¸ +50 В |
| Мощность, рассеиваемая анодом | 300 Вт |
| Мощность, рассеиваемая сеткой: | |
| без учета термотока | 5 Вт |
| при термотоке 5 мА | 2,2 Вт |
| Ток катода (эффективное значение) | 0,33 А |
| Ток катода (постоянная составляющая) при удвоении частоты | 0,19 А |
| Ток катода (мгновенное значение в режиме класса В) | 0,7 А |
| Длина волны минимальная | 15 см |
| Температура радиатора анода | 130 С |
| Температура вывода катода | 100 С |
| Температура вывода сетки | 200 С |
| Температура внешних керамических частей | 250 С |
| Сопротивление в цепи сетки | 10 кОм |
| Устойчивость к внешним воздействиям окружающей среды: | |
| интервал рабочих температур | от -60 до +100 С |
| линейные нагрузки с ускорением | до 50 g |
| с ускорением | до 35 g |
| ударные нагрузки одиночные с ускорением | до 150 g |
| относительная влажность при температуре 40 С | 95 — 98 % |




